炒股杠杆是什么意思和含义-杠杆基金开户条件要求有哪些-【东方资本】,合约杠杆交易手续费怎么算的呢 ,推荐一支短期看涨的股票,杠杆炒股成功案例分析论文

聯系我們

公司地址:合肥市經開區啟迪科技城機器人產業基地/蕪湖市鳩江區緯四路5號
撥打電話:15956930644
電子郵箱:taols@watsonx.cn

立體庫貨架的螺栓連接副中平墊和彈墊圈的作用

微信圖片_20211201110422.jpg

我們日常中經常會看到螺栓連接副采用六角頭螺栓+螺母+平墊+彈墊的形式,那么在貨架安裝中要使用這樣的連接副么?或者再簡化一下問題,貨架中的螺栓連接要使用墊圈么?


要了解這個問題,我們先要知道墊圈的作用。

平墊圈

image.png

平墊圈的作用一般有以下幾個:


1、在螺栓需要經常拆卸的場合,為了保護被連接件的表面不被劃傷,一般需要在螺母或螺栓頭位置放置平墊圈。

2、在一些摩擦系數要求比較精準的連接處,比如高強度預應力螺栓都是需要在螺母端放置平墊圈的,因為這種情況下螺栓、螺母、墊圈都是由同一廠家提供的,螺栓生產廠家需要對螺母和墊圈進行相應的處理,以保證螺母與墊圈間的摩擦系數保持一致性。

3、當螺栓強度比較高,而被連接件的許用壓應力比較低時,一般需要增加平墊圈來增加承壓面的面積,承壓面越大,壓應力就越小,加平墊圈可有效的保護工件。

4、在有一些場合,為了保證兩個連接件之間螺栓孔能一一對應,我們需要增加孔的直徑;有時為了安裝調整方便,螺栓孔會制成長孔,這樣可以在一定范圍內調節工件的安裝位置,這種螺栓孔超出標準要求時就需要采用平墊圈或者加厚型平墊圈,甚至采用多個平墊圈。

由此可以看出,平墊圈的作用主要是保護工件表面以及保證連接處的可靠性,使得連接能達到設計要求。

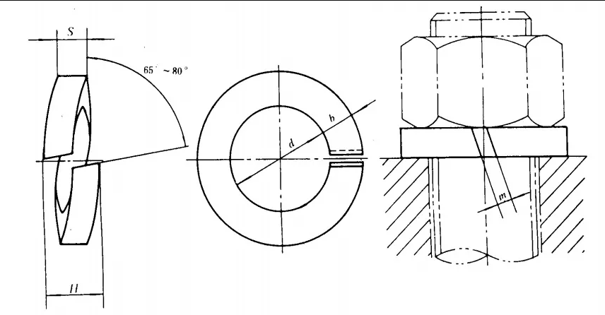
彈墊圈

image.png

彈墊圈發明之初的作用主要有兩點:一是有利于提高連接的疲勞強度,二是有利于連接的防松,但這個目的是否完全達到了呢?


目前國內現行的彈墊圈標準是GB 93-87,來源于德國DIN127標準,但該標準只引用了DIN127的彈墊數據,卻沒有引用DIN127的適用范圍,在DIN127中對彈墊的適用范圍規定如下:

image.png

譯文:應用范圍和場合

本標準規定的彈簧墊圈,設計適用于強度等級5.8及以下等級的螺栓連接中,或者是ISO898部分1的明確規定使用的場合。彈墊目的是為了防松(見DIN267第26部分),但在承受交變徑向載荷作用時防松效果無效,彈墊設計適用于螺栓連接距離較短的情況。

簡單的說,對國內標準的六角頭螺栓,彈墊只適用于C級普通螺栓(GB/T5780),即4.8級及以下等級的螺栓,彈墊雖然是設計用來防松,但卻只適用于不甚重要的連接,而且這些連接對螺栓預緊力要求不高且承受的動荷載較小。


image.png

當需要用力矩法控制預緊力時,等級高的(8.8級及以上)螺栓所需要的擰緊力矩是巨大的,開口的彈墊在這個力矩作用之下,會被完全壓平/扁,出現脹圈現象甚至斷裂,反而降低了螺栓預緊力,而預緊力的損失,又會增加松動的可能,使得彈墊失效甚至起到反效果,這一點已經得到了各界的認可注①。在建筑鋼結構領域,螺栓連接基本都是需要預緊力的,所以不用彈墊圈,標準連接副是螺栓+螺母+平墊。

image.png

那么,彈墊圈到底什么時候用?在以下場合可以使用:

1.一般用于對螺栓預緊力要求不高,且動載荷較小的場合。
2.當螺栓的夾持長度(被固定板的厚度)比較短時,螺栓應力松弛比較明顯,彈簧墊圈可以彌補應力松弛。

通俗的來說,就是當螺栓沒有預緊力(安裝扭矩)需求,只需要擰緊即可,而且被固定板比較薄時,彈簧墊圈還是有作用的,可以起到一定的防松效果,一旦螺栓安裝時有扭矩要求,那么彈墊圈不適用。

結論


經過上述分析,貨架中到底是否要使用墊圈,結論如下:

1、平墊一般是需要的,可以用來保護工件及提高連接的可靠性。通常在螺母端使用1個,當需要保護工件表面時,螺栓頭端再增加一個;在長孔或者過大圓孔處,一般使用加厚平墊或者多個墊片,視情況而定;

2、彈墊需要根據具體情況來決定是否需要,當螺栓有明確的擰緊力矩(預緊力)需求時,不需要彈墊,如底座固定、錨栓固定及其他重要的板-板固定的情況,均不需要加彈墊;當連接處于非關鍵點,螺栓擰緊即可的位置或者由于貨架的冷彎薄壁特殊結構導致無法擰緊的位置(擰緊會破壞被連接構件的截面形狀),可以采用彈墊圈用于防松

3、法蘭面螺母、螺栓及其他特種防松螺母是不需要墊圈的;

4、如果貨架中存在直接承受頻繁動荷載的連接,從連接的可靠性、緊固程度及防松效果來看,最佳解決方案是采用高強度螺栓摩擦型連接設計,能達到類似焊接的效果。

注①:

1)典型的螺旋彈簧墊圈,在螺栓緊固的時候起到彈簧的作用。可是,當螺栓被完全緊固的時候,墊圈一般來講是變平了,在這個時候,完全可以將它當作一體平墊圈,它的鎖緊功能根本不存在。
NASA Reference publication1228(1990) -Washers-Lockwashers
2)只從防松角度講,螺母下加彈簧墊圈不如加平墊圈,加平墊圈不如不加墊圈。
李景林 彈簧墊圈防松
3)彈簧墊圈雖然比較普遍的應用在防松領域,但是實際上防松效果非常不理想,英國螺栓科技公司做過實驗,在有橫向振動的情況下,加彈簧墊圈的螺母比單獨使用螺母松動更快。
比爾·伊克賽斯博士 螺母和螺栓為何會松動
4)采用彈簧墊圈能提高聯接的疲勞強度,但不利于聯接的可靠性以及防松。
唐進元 彈簧墊圈功能分析




上一篇:無

下一篇:常用的16種立體倉庫堆垛機盤點